Когда необходима замена
Среди признаков, сигнализирующих об износе тормозных дисков на Форд Фокус 1, отметим:
- блокировку тормозной системы;
- задержку торможения, вибрация соответствующей педали;
- посторонние звуки при торможении (на передней, задней или двух осях);
- изменение траектории движения транспортного средства после нажатия на тормоз.
Определить, нужна ли замена изделия, можно самостоятельно. Для этого необходимо снять колесо и обеспечить доступ к тормозному диску. Используя штангельциркуль, легко определяется толщина элемента, и если она менее допустимой отметки, то необходимо самостоятельно или на СТО выполнить ремонтные работы.
Тормозная система Форд Фокус
14.0 Тормозная система

14.1 Проверка уровня тормозной жидкости

14.2 Проверка состояния тормозной системы Проверку тормозной системы на сухом месте, в сухую погоду. Проверку проводите в следующей последовательности: проверьте все шланговые соединения и соединения трубопроводов, а также тормозные механизмы. Темные пятна и влажные места являются свидетельством утечки тормозной жидкости; пров.
14.3 Проверка вакуумного усилителя тормозов

14.5 Удаление воздуха из тормозной системы

14.6 Замена тормозной жидкости Тормозная жидкость подлежит замене каждые два года. Специализированные мастерские используют для этого специальный инструмент для заполнения. Вы можете провести эту работу самостоятельно, она аналогична процессу удаления воздуха. Для всей системы понадобится 1,5 л рекомендуемой Ford тормозной жид.
14.7 Замена питающего бачка с главного тормозного цилиндра

14.8. Главный тормозной цилиндр (Категория). Список материалов смотрите внутри.
14.9. Вакуумный усилитель тормозов (Категория). Список материалов смотрите внутри.
14.11. Замена тормозных накладок (Категория). Список материалов смотрите внутри.
14.14. Ступица заднего колеса (Категория). Список материалов смотрите внутри.
14.15. Стояночный тормоз (Категория). Список материалов смотрите внутри.
Руководство
- 
Введение
- Выбор дополнительных опций
- Инструмент
- Модельный ряд автомобилей Ford Focus
- Периодическое обслуживание и уход за автомобилем
- Подъем автомобиля с помощью домкрата
- Рабочее место
- Рекомендации по посещению мастерской
- Советы профессионалов при работе с резьбовым соединением
 
- 
Двигатели
- Варианты двигателей Ford Focus
- Замер компрессии
- Основные проверки деталей и узлов двигателя
- Основные элементы конструкции двигателя
- Разборка двигателя
- Сборка и разборка двигателя
- Установка силового агрегата
 
- 
Задняя подвеска
- Амортизатор
- Верхний поперечный рычаг
- Поворотный кулак
- Подшипник ступицы колеса
- Поперечная балка
- Поперечный рычаг нижний (задний)
- Поперечный рычаг нижний (передний)
- Продольный рычаг
- Пружина
- Стабилизатор поперечной устойчивости
- Ступица колеса
 
- 
Колеса и шины
- Замена колес
- Колеса и шины
 
- 
Коробка передач
Проверка уровня масла в коробке передач 
- 
Передняя подвеска
- Амортизаторная стойка
- Замена поворотного кулака
- Замена поперечного рычага
- Разборка и сборка амортизаторной стойки
- Углы установки колес
 
- 
Привод передних колес
- Замена грязезащитных чехлов привода передних колес
- Снятие привода передних колес
 
- 
Приложение
Моменты затяжки узлов и деталей автомобиля, Н·м 
- Рулевое управление
- 
Система выпуска отработавших газов
- Замена системы выпуска отработавших газов
- Отработавшие газы
 
- 
Система зажигания
- Общие сведения
- Работа с системой зажигания
- Свечи зажигания
 
- 
Система охлаждения
- Насос охлаждающей жидкости
- Термостат
- Технические данные
 
- 
Система питания
Воздушный фильтр 
- 
Система смазки двигателя
Моторное масло 
- 
Схемы электрических соединений
- Предохранители и реле
- Схемы
 
- 
Сцепление
Работа сцепления 
- 
Тормозная система
- Вакуумный усилитель тормозов
- Главный тормозной цилиндр
- Замена тормозных накладок
- Проверка работоспособности тормозов
- Снятие и установка тормозных дисков
- Стояночный тормоз
- Ступица заднего колеса
- Тормозная скоба и поршни тормозных цилиндров
 
- 
Управление силовым агрегатом и отработавшими газами
- Блок управления EEC-V впрыском
- Ремонт и корректировка системы впрыска дизеля — случай для экспертов
- Самостоятельная работа с системой впрыска может быть ограничена
- Система питания дизеля — базовая конструкция
 
- 
Электрооборудование
- Аккумуляторная батарея
- Генератор
- Наружное освещение
- Основные понятия
- Ремень привода вспомогательных агрегатов
- Электродвигатель стеклоочистителя ветрового стекла
 
Оплата через PayPal
После выбора оплаты через PayPal запустится платежная система PayPal, где требуется выбрать способ оплаты банковская карта или аккаунт PayPal.
Если у Вас уже есть аккаунт PayPal, то Вам необходимо зайти в него и осуществить платеж.
Если у Вас нет аккаунта в PayPal, и Вы хотите оплатить с помощью банковской карты через PayPal, Вам необходимо нажать на кнопку «Create an Account (Создать аккаунт)» — на рисунке показано стрелочкой.
После чего PayPal предложит вам выбрать Вашу страну и указать данные кредитной карты.
После указания данных, необходимых для осуществления платежа, надо нажать на кнопку «Pay Now (Оплатить)».
Тормозная система Форд Фокус 1

Тормозная система Форд Фокус 1 — гидравлическая, двухконтурная (с диагональным разделением контуров). Спереди установлены вентилируемые дисковые тормозные механизмы; сзади, в зависимости от модификации автомобиля, могут быть установлены как дисковые, так и барабанные тормозные механизмы.
Передний тормозной механизм Фокус 1 — однопоршневой, с плавающим суппортом. Задний дисковый тормозной механизм по конструкции аналогичен переднему, но меньше по размеру. Задний барабанный тормозной механизм — с двухпоршневым цилиндром и двумя тормозными колодками. Зазор между колодками и барабаном регулируется автоматически, при помощи распорной планки, на которую установлен регулятор колодок. Передняя и задняя тормозные колодки барабанного механизма — не взаимозаменяемы, т. к. имеют разную толщину накладок. Это связано с тем, что накладка передней активной колодки изнашивается быстрее.
Тормозная система разделена на два независимых друг от друга диагональных контура. Один контур соединяет тормозные механизмы переднего правого и заднего левого колес, другой — тормозные механизмы левого переднего и заднего правого колес. При выходе из строя одного из контуров другой обеспечивает торможение автомобиля, но с меньшей эффективностью. Главный тормозной цилиндр — двухпоршневой, с вакуумным усилителем, работающим за счет разрежения во впускном тракте двигателя.
На автомобилях без антиблокиро-вочной системы (АБС) для предотвращения заноса при интенсивном торможении в системе имеются регуляторы давления жидкости в гидроприводах задних тормозных механизмов.
На универсалах без АБС на балке задней подвески установлен клапан распределения нагрузки. Он регулирует давление жидкости в тормозных механизмах задних колес в зависимости от нагрузки на заднюю ось автомобиля. Привод стояночного тормоза — тросовый. Рычаг установлен на туннеле пола между передними сиденьями и оборудован механизмом регулировки натяжения тросов.
На барабанных тормозных механизмах наконечники тросов соединены с рычагами, установленными на задних колодках. При перемещении рычага вперед он, упираясь в распорную планку, разводит тормозные колодки.
На дисковых тормозных механизмах трос ручного тормоза соединяется с поворотным рычагом, установленным на суппорте. При повороте рычага поршень тормозного цилиндра перемещается и диск зажимается колодками.
На некоторых модификациях автомобилей установлена антиблокиро-вочная система. Гидравлический блок АБС установлен в моторном отсеке на левом брызговике. Трубками блок соединен с главным тормозным цилиндром и цилиндрами колесных тормозных механизмов. Гидравлический блок состоит из модулятора и блока управления АБС. В модуляторе системы установлены насос и четыре клапана, управляющие давлением в магистралях рабочих цилиндров. На всех четырех колесах установлены датчики скорости вращения колес. При блокировке колеса с датчика перестает поступать сигнал в блок управления АБС. Если при этом скорость автомобиля более 5 км/час, открывается соответствующий клапан, который стравливет давление из магистрали заблокированного колеса. Клапан открывается и закрывается несколько раз в секунду. Убедиться в том, что АБС работает, можно по слабому дрожанию педали тормоза.
При отказе АБС в память ЭБУ записывается соответствующий код неисправности, который можно считать при помощи специального оборудования в техническом центре. При отказе АБС тормозная система сохраняет работоспособность, но при этом возможна блокировка колес.
Автомобили с АБС, в зависимости от комплектации, могут быть оборудованы антипробуксовочной системой (TCS) и системой поддержания курсовой устойчивости (ESP).
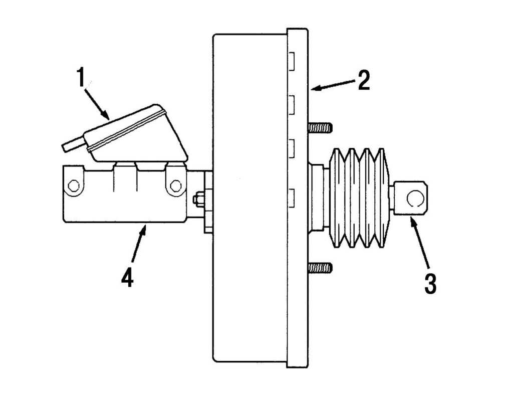
Передний тормозной механизм Фокус 1: 1 — наружная тормозная колодка;2 — тормозной диск (вентилируемый); 3 — направляющая колодок; 4 — внутренняя тормозная колодка; 5 — суппорт с рабочим цилиндром; 6 — направляющий палец (закрыт защитной втулкой с крышкой); 7 — наконечник шланга; 8 — штуцер прокачки цилиндра; 9 — защитный колпачок штуцера прокачки; 10 — поворотный кулак передней подвески
Замена переднего тормозного диска
Для того чтобы сменить передний тормозной диск на Форд Фокус 1, понадобится домкрат, плоскогубцы, гаечный ключ (от откручивания болтов на колесе), очиститель (WD), щетка с металлическим ворсом, ключ на 15″, плоская отвертка, молоток с резиновой накладкой (если диск «прикорел»).
Алгоритм действий следующий:
- Поднимаем на домкрат переднюю часть машины;
- Снимаем два передних колеса, откручивая фиксирующие болты;
- При помощи плоскогубцев освобождаем пружину, фиксирующую тормозной суппорт;

Используя ключ на 15″, демонтируем тормозной суппорт (при необходимости извлекаем тормозные колодки из него);

- Вынимаем из ступицы старый тормозной диск и устанавливаем на него новый аналог, соблюдая положение старого диска относительно ступицы;
- Надеваем на шпильку предохранительную скобу, после чего монтируем суппорт и устанавливаем на него пружину;

Монтируем колеса и снимаем авто с домкрата.
После установки первые 100-200 км следует ездить аккуратно, пока не притрутся новые детали. Не лишним будет в самом начале после замены прибегнуть к экстренному торможению, при этом путь остановки машины должен значительно сократиться. Любые посторонние звуки или вибрации при нажатии педали тормоза свидетельствует о неправильной установке и необходимости обратиться к квалифицированным специалистам.
Разделы руководства
- Автоматическая трансмиссия
- Аккумулятор и генератор
- Антиблокировочная система
- Аудиосистема
- Воздух и пары
- Гидропривод тормозов
- Группа электронных функций
- Двигатель
- Двигатель 1.4/1.6 Zetec-SE
- Двигатель 1.8/2.0/1.6 Zetec-E
- Двигатель 1.8L дизель
- Двигатель Duratec 8V 1.6L
- Двигатель Duratec ST 2.0 л
- Задняя подвеска
- Идентификационные коды
- Использование мануала
- Колеса и шины
- Люк крыши
- Механическая коробка iB5
- Механическая коробка MT285
- Механическая коробка MTX-75
- Органы управления
- Освещение
- Отопление и вентиляция
- Охлаждение двигателя
- Панели кузова
- Подача топлива
- Подвеска
- Полуоси переднего моста
- Приборы и контрольные лампы
- Привод аксессуаров
- Ремни безопасности
- Ремонты кузова
- Рулевое управление
- Система выпуска
- Система зажигания
- Система запуска
- Система тормозов
- Стекла, рамы и механизмы
- Стеклоочистители и омыватели
- Сцепление
- Токсичность выхлопа
- Управление микроклиматом
- Электрораспределение
- Элементы задка
- Элементы кузова
- Элементы салона
Скачивание книги
После успешного прохождения платежа (любым способом) и возврата в магазин KrutilVertel с сайта платежной системы Вы попадаете на страницу успешной оплаты:
Купленная Вами книга будет находиться в Вашем личном кабинете, откуда ее всегда можно будет скачать.
Обратите внимание, что после совершения оплаты, Вам необходимо вернуться обратно с сайта платежной системы на сайт KrutilVertel. В случае, если по каким либо причинам Вы не вернулись обратно на сайт и закрыли вкладку платежной системы с сообщением про успешное прохождение платежа, сообщите нам об этом — мы вышлем Вам письмо в котором будет указан доступ для скачивания книги
В случае, если по каким либо причинам Вы не вернулись обратно на сайт и закрыли вкладку платежной системы с сообщением про успешное прохождение платежа, сообщите нам об этом — мы вышлем Вам письмо в котором будет указан доступ для скачивания книги.
Обычно пользователи нашего сайта находят эту страницу по следующим запросам:нет тормозов Ford Focus, прокачка тормозов Ford Focus, схема тормозной системы Ford Focus, ремонт тормозной системы Ford Focus, неисправности тормозной системы Ford Focus
Задний дисковый тормоз
Рисунок 4.1 – Задний дисковый тормоз
1 – Продольный рычаг и кулак
2 – Щит
3 – Ось колеса
4 – Суппорт тормоза
5 – Зажим
6 – Смазочный колпачок
7 – Держатель подшипника колеса
8 – Диск
9 – Ступица колеса
ТОРМОЗНОЙ СУППОРТ
СНЯТИЕ
1. Отпустить гайки колеса.
ВНИМАНИЕ:
При попадании тормозной жидкости на лакокрасочное покрытие пораженный участок требуется незамедлительно промыть холодной водой.
2. Поднять и подпереть автомобиль.
3. Снять колесо.
4. Отсоединить трос стояночного тормоза.
1) Оттянуть назад рычаг стояночного тормоза.
2) Отсоединить трос от рычага стояночного тормоза.
3) Снять зажим оболочки троса.
4) Снять трос и оболочку троса.
5. Ослабить натяжение тормозного шланга.
1) Пережать тормозной шланг зажимом.
2) Отпустить ниппельное соединение тормозного шланга.
6. Отсоединить суппорт.
7. Снять тормозные колодки.
8. Отсоединить суппорт от тормозного шланга.
— Заглушить тормозной шланг во избежание вытекания тормозной жидкости и проникновения грязи.
9. Снять анкерную пластину.
УСТАНОВКА
1. Установить анкерную пластину.
2. Подсоединить суппорт к тормозному шлангу, не затягивая соединение.
3. Используя специальный инструмент, полностью убрать внутрь поршень суппорта.
ВНИМАНИЕ:
Если поршни втянуты внутрь корпуса, тормозная жидкость может вытесняться из главного тормозного цилиндра.
4. Установить тормозные колодки.
5. Установить суппорт.
ПРИМЕЧАНИЕ:
Убедиться в правильности расположения пружин тормозной колодки на суппорте.
6. Затянуть соединение тормозного шланга и суппорта.
1) Затянуть ниппельное соединение тормозного шланга.
2) Снять зажим тормозного шланга.
7. Подсоединить трос стояночного тормоза.
1) Установить трос и оболочку троса в требуемое положение.
2) Установить зажим троса.
3) Оттянуть назад рычаг стояночного тормоза.
4) Подсоединить трос к рычагу стояночного тормоза.
8. Установить колеса.
9. Удалить воздух из системы тормозов.
ТОРМОЗНЫЕ КОЛОДКИ
СНЯТИЕ
1. Отпустить гайки колеса.
2. Поднять и подпереть автомобиль.
3. Снять колесо.
4. Отсоединить трос стояночного тормоза.
1) Оттянуть назад рычаг стояночного тормоза.
2) Отсоединить трос от рычага стояночного тормоза.
3) Снять зажим оболочки троса.
4) Отсоединить трос и оболочку троса.
5. Отсоединить суппорт.
ВНИМАНИЕ:
Закрепить суппорт в стороне во избежание повреждения тормозного шланга.
6. Снять тормозные колодки.
УСТАНОВКА
1. Используя специальный инструмент, полностью вдавить внутрь поршень суппорта.
ВНИМАНИЕ:
Если поршни втянуты внутрь корпуса, тормозная жидкость может вытесняться из главного тормозного цилиндра.
2. Установить тормозные колодки.
3. Установить суппорт.
ПРИМЕЧАНИЕ:
Убедиться в правильности расположения пружин тормозной колодки на суппорте.
4. Подсоединить трос стояночного тормоза.
1) Установить в требуемое положение трос и оболочку троса.
2) Установить зажим троса.
3) Оттянуть назад рычаг стояночного тормоза.
4) Подсоединить трос к рычагу стояночного тормоза.
5. Установить колеса.
ТОРМОЗНОЙ ДИСК
СНЯТИЕ
1. Отпустить стояночный тормоз.
2. Снять колесо.
3. Отсоединить трос стояночного троса от суппорта тормоза.
1) Оттяните назад рычаг стояночного тормоза.
2) Отсоедините трос от рычага стояночного тормоза.
3) Снимите зажим трубопровода (при наличии).
4) Отсоедините трос и оболочку троса.
4. Отсоединить суппорт тормоза и анкерную пластину от кулака колеса.
ВНИМАНИЕ:
Подвесить суппорт тормоза и анкерную пластину, чтобы предотвратить приложение нагрузки от их веса к тормозному шлангу.
5. Снять тормозной диск.
— Снять зажим (если установлен).
УСТАНОВКА
1. При установке выполнить процедуру снятия в обратной последовательности.
2. Отрегулировать трос стояночного троса.
ЩИТ ТОРМОЗНОГО ДИСКА
СНЯТИЕ
ВСЕ МОДИФИКАЦИИ
1. Снять тормозной диск.
МОДИФИКАЦИИ С АНТИБЛОКИРОВОЧНОЙ СИСТЕМОЙ ТОРМОЗОВ
2. Отсоединить жгут электропроводки датчика скорости колеса от кулака колеса и панели пола.
1) Рассоединить штекерный разъем.
2) Снять зажимы.
3. Снять ось колеса в сборе со ступицей колеса.
ВНИМАНИЕ:
Не повредить жгут электропроводки или штекерный разъем датчика скорости колеса.
ПРИМЕЧАНИЕ:
Жгут электропроводки датчика скорости колеса проходит через кулак колеса.
МОДИФИКАЦИИ БЕЗ АНТИБЛОКИРОВОЧНОЙ СИСТЕМЫ ТОРМОЗОВ
4. Снять ось колеса в сборе со ступицей колеса.
5. Снять щиток тормозного диска.
— Высверлить заклепки.
УСТАНОВКА
1. При установке выполнить процедуру снятия в обратной последовательности.
Проблемы при оплате банковскими картами
Иногда при оплате банковскими картами Visa / MasterCard могут возникать трудности. Самые распространенные из них:
- На карте стоит ограничение на оплату покупок в интернет
- Пластиковая карта не предназначена для совершения платежей в интернет.
- Пластиковая карта не активирована для совершения платежей в интернет.
- Недостаточно средств на пластиковой карте.
Для того что бы решить эти проблемы необходимо позвонить или написать в техническую поддержку банка в котором Вы обслуживаетесь. Специалисты банка помогут их решить и совершить оплату.
Вот, в принципе, и все. Весь процесс оплаты книги в формате PDF по ремонту автомобиля на нашем сайте занимает 1-2 минуты.
Если у Вас остались какие-либо вопросы, вы можете их задать, воспользовавшись формой обратной связи, или написать нам письмо на info@krutilvertel.com.

 
            



























